My BLOG
TopPage
〜 ミスター・モデルベース開発 と呼ばれた男の独言 〜
ヘンジニア
24. 思い出深い MBD特許
実は、特許を出すのは面倒くさく、とても嫌いだった。出さないといけない時だけ、集中的に出した。
それでもいつのまにか、だいぶたまった。177件出している。 いくつか思い出深い特許がある。
(下記の知財の図表はいずれも Google Patent の検索結果から)
<反省の特許>

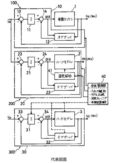
その代表は、1993年に出願し、2017年には権利が切れた、MBDの特許が代表だろうな。 車両制御システムの中に、複数の車両シミュレーションモデルを組み込むというもの。
実機を劣化を含めて同定するモデル と 良い状態に戻すために机上でチューニングするモデル、安全にチューニング終わった後は、実制御のパラメータを書き換えるもの。つまり、自動適合、自動故障診断、自動修理、ができるものだった。
ただこれには、車載コンピュータの能力革新とコスト革新が伴わないと、車への搭載はできない、贅沢な技術だった。当時は、コンピュータの進化がここまで鈍化するとは思っていなかった、もっと早く使えると思っていた、それが誤算だった。きっと、今出せば、ちょうど良い、使える特許だったと思う。

世間に貢献できたという意味では、1998年に出願した、エネルギーモデル(機能モデル)に関する特許だろう。これもとっくに権利切れという点は同じ。この特許は、私の尊敬すべき恩師、角田博士、と当時の研究者で共願とさせていただいたもの。



だけど、その採用はいずれも、知財権が切れた後であるので、何も収益は上げていない。これは成功? まあ、名誉だけ成功かな?
<将来性ある特許>
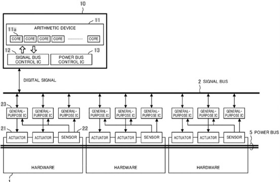
これからの技術分野で、楽しみなのは、manyコア(多くの頭脳半導体を有するもの)を前提とした モデル(ソフト)&エレキアーキテクチャ (ハード)の知財だろう。

この発明の続編の特許は2020年に私が出願し権利化されている。つい先日、辞めた会社から発明報奨金が送られてきた。
内容は、現在のテスラのエレキアーキテクチャよりも先進的なもの。発明時期は2013年だったが、だいぶたってから出願。
これは楽しみだねえ。
けっこう、これらの話を思い出しながら、独り言いうだけでも、ワインは進む、くやしいやら、おかしいやら、ほこらしいやら、よくわからない、複雑な味と香りがする。